In an automotive landscape increasingly leaning towards electrification, Ferrari remains committed to its combustion roots. The iconic prancing horse has just filed a patent for a Y-configured 12-cylinder engine, a surprising setup that could redefine certain standards. This bold choice raises crucial questions about the future of performance motoring.
Reviving a Timeless Tradition
As emissions regulations tighten and taxes penalize polluting vehicles, Ferrari continues to develop its legendary 12-cylinder engine. At first glance, one might think this type of engine is destined for extinction. However, the brand persists in integrating it into its lineup, notably with the 12Cilindri model, much like Lamborghini with its Revuelto. Hybrid technology is now essential to prolong the life of combustion engines, but Ferrari has chosen to start from scratch to design an entirely new architecture.
Drawing on decades of experience with various V12 engines—including the flat engine from the 1980s Testarossa—Ferrari has recently submitted a patent application to the U.S. Patent and Trademark Office (USPTO) for a Y-engine, a novel configuration that deserves attention.

Top view shows the Y layout of this twelve-cylinder engine. © Ferrari
How the Y-12 Engine Works
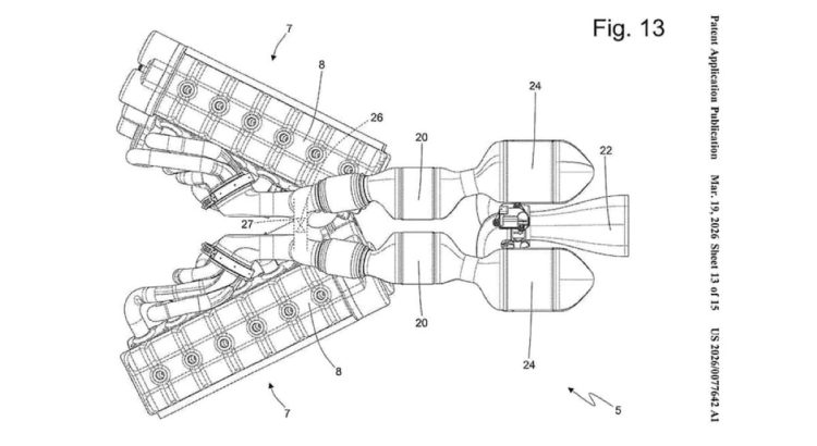
While W engines from the Volkswagen Group may seem exotic, Ferrari’s Y12 takes originality even further. In this configuration, the two banks of cylinders are not physically connected. They could almost be viewed as two inline six-cylinder engines operating simultaneously. Each has its own crankshaft and valve timing. The exhausts are directed inward and converge toward the rear, forming a Y shape from above. This layout makes it impossible to install a traditional transmission.
The primary purpose of this engine is clear: it will serve solely as a power generator to recharge batteries that will power electric motors driving the wheels. An interesting aspect is that the two engines can operate simultaneously but at different RPMs. To satisfy motorsport purists, this innovation is accompanied by a virtual transmission inspired by the S+ Shift from the Honda Prelude. An unexpected comparison that shows Japanese technology can sometimes be compelling.

The two banks of cylinders at 45° prevent the installation of a transmission. © Ferrari
Why Develop a New Engine?
In principle, a V6 or V8 could have fulfilled the same role as this Y-engine while saving on development costs. However, the choice of a Y-engine is not trivial. This architecture offers several advantages: its wide base and tapered top not only optimize under-hood space but also improve weight distribution. By moving the engine block’s weight forward, it also frees up more space at the rear of the vehicle for better suspension and effective aerodynamic elements.
That said, for now, it remains unclear which model will feature this Y12, or if its integration is imminent. The mere fact that a patent has been filed does not guarantee that vehicle development is already advanced.

Despite this diagram in a chassis, it is still unknown which car will receive this Y12. © Ferrari
A Look to the Future
This Y-engine could mark a turning point in how Ferrari envisions its future models. By combining a well-established tradition with an innovative approach to environmental challenges, the Italian firm could attract thrill-seekers while adhering to ecological standards.
In this quest for balance between performance and sustainability, Ferrari seems determined to prove that even in a world where electric power is taking precedence over combustion, there is still room for bold and original technical solutions.
In Summary
- Ferrari is developing a new Y-configured 12-cylinder engine.
- This architecture aims to serve as a generator for hybrid systems.
- The banks of cylinders operate independently, each with its own crankshaft.
- Integration into a future model remains uncertain.
- Ferrari seeks to blend tradition and innovation in the face of ecological challenges.
“}



